___________________________________________ РАЗМЕРЫ В МИЛЛИМЕТРАХ
| Параметры винта |
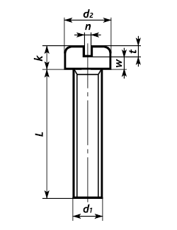
Номинальный диаметр резьбы d1 |
| М3 |
М (3,5) |
М4 |
М5 |
М6 |
М8 |
М10 |
| Шаг резьбы P |
0,5 |
0,6 |
0,7 |
0,8 |
1 |
1,25 |
1,5 |
| Диаметр головки d2 |
6 |
7 |
8 |
10 |
12 |
16 |
20 |
| Высота головки k |
1,8 |
2,1 |
2,4 |
3 |
3,6 |
4,8 |
6 |
| Высота w |
0,7 |
0,8 |
1 |
1,3 |
1,4 |
2,1 |
2,7 |
| n |
0,8 |
1 |
1,2 |
1,2 |
1,6 |
2 |
2,5 |
| t |
0,7 |
0,8 |
1 |
1,2 |
1,4 |
1,9 |
2,4 |
| Номинальная длина l |
мин. |
4 |
5 |
5 |
6 |
8 |
10 |
12 |
| макс. |
30 |
35 |
40 |
50 |
60 |
80 |
80 |
Используется для соединения деталей и элементов, в приборостроении, машиностроении, а также в других промышленных и строительных областях. Часто применяется при производстве мебели. Производится из углеродистой стали, нержавеющей стали А2 и А4.
|
______________________________________ МАССА
| Длина винта мм |
Масса 1000 шт, винтов кг |
| М3 |
(М3,5) |
М4 |
М5 |
М6 |
М8 |
М10 |
| 3 |
0,471 |
– |
– |
– |
– |
– |
– |
| 4 |
0,515 |
0,728 |
1,02 |
– |
– |
– |
– |
| 5 |
0,560 |
0,786 |
1,09 |
– |
– |
– |
– |
| 6 |
0,604 |
0,845 |
1,17 |
2,06 |
– |
– |
– |
| 8 |
0,692 |
0,966 |
1,33 |
2,20 |
3,56 |
– |
– |
| 10 |
0,780 |
1,080 |
1,47 |
2,55 |
3,92 |
7,85 |
– |
| 12 |
0,868 |
1,200 |
1,63 |
2,80 |
4,27 |
8,49 |
14,6 |
| 14 |
0,956 |
1,320 |
1,79 |
3,05 |
4,62 |
9,13 |
15,6 |
| 16 |
1,040 |
1,440 |
1,95 |
3,30 |
4,98 |
9,77 |
16,6 |
| 18 |
1,130 |
1,560 |
2,10 |
3,54 |
5,34 |
10,40 |
17,6 |
| 20 |
1,220 |
1,680 |
2,25 |
3,78 |
5,69 |
11,00 |
18,6 |
| 22 |
1,310 |
1,800 |
2,40 |
4,02 |
6,04 |
11,70 |
19,6 |
| 25 |
1,440 |
1,980 |
2,64 |
4,40 |
6,56 |
12,60 |
21,1 |
| 28 |
1,570 |
2,160 |
2,87 |
4,67 |
7,10 |
13,60 |
22,6 |
| 30 |
1,660 |
2,280 |
3,02 |
5,02 |
7,45 |
14,20 |
23,6 |
| 35 |
1,880 |
2,570 |
3,41 |
5,62 |
8,25 |
15,80 |
26,1 |
| 40 |
2,100 |
2,870 |
3,80 |
6,25 |
9,20 |
17,40 |
28,6 |
| 45 |
|
3,170 |
4,17 |
6,88 |
10,00 |
18,90 |
31,1 |
| 50 |
|
3,470 |
4,57 |
7,50 |
10,90 |
20,60 |
33,6 |
| 55 |
|
|
|
|
|
22,10 |
36,1 |
| 60 |
|
|
|
|
|
|
38,6 |
|
__________________ВНЕШНИЙ ВИД

________________________ЧЕРТЕЖ
|
Останні коментарі
1 рік 30 тижнів тому
3 роки 17 тижнів тому
4 роки 12 тижнів тому
4 роки 12 тижнів тому
12 років 1 тиждень тому
12 років 1 тиждень тому
12 років 1 тиждень тому
12 років 1 тиждень тому
12 років 1 тиждень тому
12 років 22 тижня тому