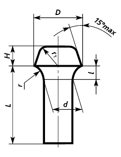
___________________________________________________________________________________________________ РАЗМЕРЫ В МИЛЛИМЕТРАХ
| Диаметр стержня d |
2 |
2,5 |
3 |
4 |
5 |
6 |
8 |
10 |
12 |
16 |
20 |
24 |
30 |
36 |
| Диаметр головки D |
3,8 |
4,8 |
5,5 |
7,5 |
9,5 |
11 |
14 |
16 |
20 |
25 |
32 |
40 |
50 |
60 |
| Высота головки Н |
1 |
1,2 |
1,6 |
2 |
2,5 |
3 |
4 |
5 |
6 |
8 |
10 |
12 |
15 |
18 |
| Радиус под головкой r не более |
0,2 |
0,4 |
0,5 |
0,6 |
0,8 |
1 |
1,2 |
1,6 |
| Радиус округления головки r1 не более |
0,5 |
0,7 |
1 |
1,3 |
2 |
2,6 |
3 |
4 |
5,3 |
6,6 |
8 |
| Расстояние от основания головки до места замера диаметра l |
3 |
4 |
6 |
8 |
10 |
_______________________________________________________________________________________________________ МАССА
| Длина l мм |
Теоретическая масса 1000 шт. заклепок, кг, при номинальном диаметре стержня d мм |
| 2 |
2,5 |
3 |
4 |
5 |
6 |
8 |
10 |
12 |
16 |
20 |
24 |
30 |
36 |
| 4 |
0,175 |
– |
– |
– |
– |
– |
– |
– |
– |
– |
– |
– |
– |
– |
| 5 |
0,2 |
0,339 |
0,527 |
– |
– |
– |
– |
– |
– |
– |
– |
– |
– |
– |
| 6 |
0,225 |
0,378 |
0,583 |
1,188 |
– |
– |
– |
– |
– |
– |
– |
– |
– |
– |
| 7 |
0,249 |
0,416 |
0,638 |
1,287 |
– |
– |
– |
– |
– |
– |
– |
– |
– |
– |
| 8 |
0,274 |
0,455 |
0,694 |
1,385 |
2,431 |
– |
– |
– |
– |
– |
– |
– |
– |
– |
| 9 |
0,299 |
0,494 |
0,749 |
1,484 |
2,586 |
– |
– |
– |
– |
– |
– |
– |
– |
– |
| 10 |
0,323 |
0,532 |
0,805 |
1,582 |
2,74 |
4,135 |
– |
– |
– |
– |
– |
– |
– |
– |
| 12 |
– |
0,609 |
0,916 |
1,78 |
3,048 |
4,578 |
– |
– |
– |
– |
– |
– |
– |
– |
| 14 |
– |
0,686 |
1,027 |
1,977 |
3,356 |
5,022 |
9,63 |
– |
– |
– |
– |
– |
– |
– |
| 16 |
– |
– |
1,138 |
2,174 |
3,665 |
5,466 |
10,42 |
16,47 |
– |
– |
– |
– |
– |
– |
| 18 |
– |
– |
1,248 |
2,372 |
3,973 |
5,91 |
11,21 |
17,71 |
28,45 |
– |
– |
– |
– |
– |
| 20 |
– |
– |
– |
2,569 |
4,281 |
6,354 |
11,99 |
18,94 |
30,23 |
– |
– |
– |
– |
– |
| 22 |
– |
– |
– |
2,766 |
4,589 |
6,798 |
12,78 |
20,17 |
32 |
– |
– |
– |
– |
– |
| 24 |
– |
– |
– |
2,964 |
4,898 |
7,242 |
13,57 |
21,4 |
33,78 |
63,55 |
– |
– |
– |
– |
| 26 |
– |
– |
– |
3,161 |
5,206 |
7,686 |
14,36 |
22,64 |
35,55 |
66,71 |
– |
– |
– |
– |
| 28 |
– |
– |
– |
3,358 |
5,514 |
8,13 |
15,15 |
23,87 |
37,33 |
69,87 |
– |
– |
– |
– |
| 30 |
– |
– |
– |
3,555 |
5,822 |
8,57 |
15,94 |
25,1 |
39,1 |
73,02 |
– |
– |
– |
– |
| 32 |
– |
– |
– |
3,753 |
6,131 |
9,02 |
16,73 |
26,34 |
40,88 |
76,18 |
131,7 |
– |
– |
– |
| 34 |
– |
– |
– |
– |
6,439 |
9,46 |
17,52 |
27,57 |
42,66 |
79,34 |
136,7 |
– |
– |
– |
| 36 |
– |
– |
– |
– |
6,747 |
9,9 |
18,31 |
27,8 |
44,3 |
82,49 |
141,6 |
– |
– |
– |
| 38 |
– |
– |
– |
– |
7,053 |
10,35 |
19,1 |
30,04 |
46,21 |
85,65 |
146,5 |
– |
– |
– |
| 40 |
– |
– |
– |
– |
7,364 |
10,79 |
19,89 |
31,27 |
47,98 |
88,81 |
151,5 |
– |
– |
– |
| 42 |
– |
– |
– |
– |
7,672 |
11,24 |
20,68 |
32,5 |
49,76 |
91,96 |
156,4 |
– |
– |
– |
| 45 |
– |
– |
– |
– |
8,134 |
11,9 |
21,86 |
34,35 |
52,42 |
96,7 |
163,8 |
– |
– |
– |
| 48 |
– |
– |
– |
– |
8,597 |
12,57 |
23,04 |
36,2 |
55,08 |
101,4 |
171,2 |
– |
– |
– |
| 50 |
– |
– |
– |
– |
8,905 |
13,01 |
23,83 |
37,43 |
56,86 |
104,6 |
176,1 |
277,3 |
– |
– |
| 52 |
– |
– |
– |
– |
9,213 |
13,46 |
24,62 |
38,67 |
58,64 |
107,7 |
181,1 |
284,4 |
– |
– |
| 55 |
– |
– |
– |
– |
9,676 |
14,12 |
25,8 |
40,52 |
61,3 |
112,5 |
188,5 |
295 |
– |
– |
| 58 |
– |
– |
– |
– |
10,14 |
14,79 |
26,99 |
42,37 |
63,95 |
117,2 |
195,9 |
305,7 |
– |
– |
| 60 |
– |
– |
– |
– |
10,45 |
15,23 |
27,78 |
43,6 |
65,74 |
120,4 |
200,8 |
312,8 |
527,7 |
815,9 |
| 65 |
– |
– |
– |
– |
– |
– |
– |
46,68 |
70,18 |
128,3 |
213,1 |
330,5 |
555,4 |
855,8 |
| 70 |
– |
– |
– |
– |
– |
– |
– |
49,77 |
74,62 |
136,2 |
225,4 |
348,3 |
583,1 |
895,8 |
| 75 |
– |
– |
– |
– |
– |
– |
– |
52,85 |
79,06 |
144 |
237,8 |
366 |
610,9 |
935,7 |
| 80 |
– |
– |
– |
– |
– |
– |
– |
55,93 |
83,49 |
151,94 |
250,1 |
383,8 |
638,7 |
975,7 |
| 85 |
– |
– |
– |
– |
– |
– |
– |
59,01 |
87,93 |
159,83 |
262,4 |
401,6 |
666,4 |
1015,6 |
| 90 |
– |
– |
– |
– |
– |
– |
– |
– |
92,37 |
167,72 |
274,7 |
419,3 |
694,1 |
1055,6 |
| 95 |
– |
– |
– |
– |
– |
– |
– |
– |
– |
175,62 |
287,1 |
437,1 |
721,9 |
1095,5 |
| 100 |
– |
– |
– |
– |
– |
– |
– |
– |
– |
183,53 |
299,4 |
454,8 |
749,6 |
1135,5 |
| 110 |
– |
– |
– |
– |
– |
– |
– |
– |
– |
199,29 |
324,1 |
490,3 |
805,1 |
1215,4 |
| 120 |
– |
– |
– |
– |
– |
– |
– |
– |
– |
– |
348,8 |
525,9 |
860,6 |
1295,3 |
| 130 |
– |
– |
– |
– |
– |
– |
– |
– |
– |
– |
373,4 |
561,4 |
916,1 |
1375,2 |
| 140 |
– |
– |
– |
– |
– |
– |
– |
– |
– |
– |
398,1 |
596,9 |
971,6 |
1455,1 |
| 150 |
– |
– |
– |
– |
– |
– |
– |
– |
– |
– |
422,7 |
632,4 |
1027,1 |
1534,9 |
| 160 |
– |
– |
– |
– |
– |
– |
– |
– |
– |
– |
– |
667,9 |
1082,6 |
1614,9 |
| 170 |
– |
– |
– |
– |
– |
– |
– |
– |
– |
– |
– |
703,4 |
1138,1 |
1694,8 |
| 180 |
– |
– |
– |
– |
– |
– |
– |
– |
– |
– |
– |
738,9 |
1193,5 |
1774,7 |
|
________ВНЕШНИЙ ВИД

_____________ЧЕРТЕЖ
| Диаметр стержня d |
Длина L |
| 2 |
4-10 |
| 2,5 |
5-14 |
| 3 |
5-18 |
| 4 |
6-32 |
| 5 |
8-60 |
| 6 |
10-60 |
| 8 |
14-60 |
| 10 |
16-85 |
| 12 |
18-90 |
| 16 |
24-110 |
| 20 |
32-150 |
| 24 |
50-180 |
| 30 |
60-180 |
| 36 |
60-180 |
Пример условного обозначения заклепки с плоской головкой класса точности В диаметром d=8 мм, длиной L=20 мм, из материала группы 00, без покрытия: Заклепка 8 х 20.00 ГОСТ 10303-80.
Внимание!
• Длина заклепок должна выбираться из следующего ряда: 4, 5, 6, 7, 8, 9, 10, 12, 14, 16, 18, 20, 22, 24, 26, 28, 30, 32, 34, 36, 38, 40, 42, 45, 48, 50, 52, 55, 58, 60, 65, 70, 75, 80, 85, 90, 95, 100, 110, 120, 130, 140, 150,160, 170, 180 мм. • Для определения массы заклепок, изготовляемых из других материалов, значения массы, указанные в таблице, должны быть умножены на коэффициенты: 0,356 – для алюминиевого сплава, 1,080 – для латуни, 1,134 – для меди.
|
Останні коментарі
1 рік 30 тижнів тому
3 роки 17 тижнів тому
4 роки 12 тижнів тому
4 роки 12 тижнів тому
12 років 1 тиждень тому
12 років 1 тиждень тому
12 років 1 тиждень тому
12 років 1 тиждень тому
12 років 1 тиждень тому
12 років 1 тиждень тому