___________________________________________________________________________________________________ РАЗМЕРЫ В МИЛЛИМЕТРАХ
| Номинальный диаметр резьбы d |
6 |
8 |
10 |
12 |
(14) |
16 |
(18) |
20 |
(22) |
24 |
(27) |
30 |
36 |
42 |
48 |
| Шаг резьбы |
1 |
1,25 |
1,5 |
1,75 |
2 |
2,5 |
3 |
3,5 |
4 |
4,5 |
5 |
| Диаметр подголовка d1 H15 |
6 |
8 |
10 |
12 |
14 |
16 |
18 |
20 |
22 |
24 |
27 |
30 |
36 |
42 |
48 |
| Высота подголовка h не менее |
3 |
4 |
5 |
6 |
7 |
8 |
9 |
10 |
11 |
12 |
14 |
15 |
18 |
21 |
24 |
| Размер «под ключ» S |
10 |
12 |
14 |
17 |
19 |
22 |
24 |
27 |
30 |
32 |
36 |
41 |
50 |
60 |
70 |
| Высота головки k |
4 |
5 |
6 |
7 |
8 |
9 |
10 |
11 |
12 |
13 |
15 |
17 |
20 |
23 |
26 |
| Высота головки k1 |
4,2 |
5,3 |
6,4 |
7,5 |
8,8 |
10 |
12 |
12,5 |
14 |
15 |
17 |
18,7 |
22,5 |
26 |
30 |
| Диаметр описанной окружности е не менее |
10,9 |
13,1 |
15,3 |
18,7 |
20,9 |
23,9 |
26,2 |
29,6 |
33 |
35 |
39,6 |
45,2 |
55,4 |
66,4 |
76,9 |
| dw не менее |
8,7 |
10,5 |
12,5 |
15,5 |
17,2 |
20,1 |
22 |
24,8 |
27,7 |
29,5 |
33,2 |
38 |
46,6 |
55,9 |
64,7 |
| hw |
не менее |
0,15 |
0,2 |
0,25 |
| не более |
0,6 |
0,8 |
________________________________________________________________________________________РАЗМЕРЫ В МИЛЛИМЕТРАХ
Длина болта
l мм |
Длина резьбы b и расстояние от опорной поверхности головки до оси отверстия в стержне l1 при номинальном диаметре резьбы d |
| 6 |
8 |
10 |
12 |
(14) |
16 |
(18) |
20 |
(22) |
24 |
(27) |
30 |
36 |
42 |
48 |
| l1 |
b |
l1 |
b |
l1 |
b |
l1 |
b |
l1 |
b |
l1 |
b |
l1 |
b |
l1 |
b |
l1 |
b |
l1 |
b |
l1 |
b |
l1 |
b |
l1 |
b |
l1 |
b |
l1 |
b |
| (28) |
24 |
18 |
– |
– |
– |
– |
– |
– |
– |
– |
– |
– |
– |
– |
– |
– |
– |
– |
– |
– |
– |
– |
– |
– |
– |
– |
– |
– |
– |
– |
| 30 |
26 |
18 |
– |
– |
– |
– |
– |
– |
– |
– |
– |
– |
– |
– |
– |
– |
– |
– |
– |
– |
– |
– |
– |
– |
– |
– |
– |
– |
– |
– |
| (32) |
28 |
18 |
– |
– |
– |
– |
– |
– |
– |
– |
– |
– |
– |
– |
– |
– |
– |
– |
– |
– |
– |
– |
– |
– |
– |
– |
– |
– |
– |
– |
| 35 |
31 |
18 |
31 |
22 |
– |
– |
– |
– |
– |
– |
– |
– |
– |
– |
– |
– |
– |
– |
– |
– |
– |
– |
– |
– |
– |
– |
– |
– |
– |
– |
| (38) |
34 |
18 |
34 |
22 |
– |
– |
– |
– |
– |
– |
– |
– |
– |
– |
– |
– |
– |
– |
– |
– |
– |
– |
– |
– |
– |
– |
– |
– |
– |
– |
| 40 |
36 |
18 |
36 |
22 |
36 |
26 |
– |
– |
– |
– |
– |
– |
– |
– |
– |
– |
– |
– |
– |
– |
– |
– |
– |
– |
– |
– |
– |
– |
– |
– |
| 45 |
41 |
18 |
41 |
22 |
41 |
26 |
40 |
30 |
– |
– |
– |
– |
– |
– |
– |
– |
– |
– |
– |
– |
– |
– |
– |
– |
– |
– |
– |
– |
– |
– |
| 50 |
46 |
18 |
46 |
22 |
46 |
26 |
45 |
30 |
– |
– |
– |
– |
– |
– |
– |
– |
– |
– |
– |
– |
– |
– |
– |
– |
– |
– |
– |
– |
– |
– |
| 55 |
51 |
18 |
51 |
22 |
51 |
26 |
50 |
30 |
50 |
34 |
– |
– |
– |
– |
– |
– |
– |
– |
– |
– |
– |
– |
– |
– |
– |
– |
– |
– |
– |
– |
| 60 |
56 |
18 |
56 |
22 |
56 |
26 |
55 |
30 |
55 |
34 |
54 |
38 |
– |
– |
– |
– |
– |
– |
– |
– |
– |
– |
– |
– |
– |
– |
– |
– |
– |
– |
| 65 |
61 |
18 |
61 |
22 |
61 |
26 |
60 |
30 |
60 |
34 |
59 |
38 |
59 |
42 |
– |
– |
– |
– |
– |
– |
– |
– |
– |
– |
– |
– |
– |
– |
– |
– |
| 70 |
66 |
18 |
66 |
22 |
66 |
26 |
65 |
30 |
65 |
34 |
64 |
38 |
64 |
42 |
64 |
46 |
– |
– |
– |
– |
– |
– |
– |
– |
– |
– |
– |
– |
– |
– |
| 75 |
71 |
18 |
71 |
22 |
71 |
26 |
70 |
30 |
70 |
34 |
69 |
38 |
69 |
42 |
69 |
46 |
68 |
50 |
– |
– |
– |
– |
– |
– |
– |
– |
– |
– |
– |
– |
| 80 |
76 |
18 |
76 |
22 |
76 |
26 |
75 |
30 |
75 |
34 |
74 |
38 |
74 |
42 |
74 |
46 |
73 |
50 |
73 |
54 |
– |
– |
– |
– |
– |
– |
– |
– |
– |
– |
| (85) |
81 |
18 |
81 |
22 |
81 |
26 |
80 |
30 |
80 |
34 |
79 |
38 |
79 |
42 |
79 |
46 |
78 |
50 |
78 |
54 |
– |
– |
– |
– |
– |
– |
– |
– |
– |
– |
| 90 |
86 |
18 |
86 |
22 |
86 |
26 |
85 |
30 |
85 |
34 |
84 |
38 |
84 |
42 |
84 |
46 |
83 |
50 |
83 |
54 |
82 |
60 |
– |
– |
– |
– |
– |
– |
– |
– |
| (95) |
– |
– |
91 |
22 |
91 |
26 |
90 |
30 |
90 |
34 |
89 |
38 |
89 |
42 |
89 |
46 |
88 |
50 |
88 |
54 |
87 |
60 |
– |
– |
– |
– |
– |
– |
– |
– |
| 100 |
– |
– |
96 |
22 |
96 |
26 |
95 |
30 |
95 |
34 |
94 |
38 |
94 |
42 |
94 |
46 |
93 |
50 |
93 |
54 |
92 |
60 |
91 |
66 |
– |
– |
– |
– |
– |
– |
| (105) |
– |
– |
– |
– |
101 |
26 |
100 |
30 |
100 |
34 |
99 |
38 |
99 |
42 |
99 |
46 |
98 |
50 |
98 |
54 |
97 |
60 |
96 |
66 |
– |
– |
– |
– |
– |
– |
| 110 |
– |
– |
– |
– |
106 |
26 |
105 |
30 |
105 |
34 |
104 |
38 |
104 |
42 |
104 |
46 |
103 |
50 |
103 |
54 |
102 |
60 |
101 |
66 |
– |
– |
– |
– |
– |
– |
| (115) |
– |
– |
– |
– |
111 |
26 |
110 |
30 |
110 |
34 |
109 |
38 |
109 |
42 |
109 |
46 |
108 |
50 |
108 |
54 |
107 |
60 |
106 |
66 |
105 |
78 |
– |
– |
– |
– |
| 120 |
– |
– |
– |
– |
116 |
26 |
115 |
30 |
115 |
34 |
114 |
38 |
114 |
42 |
114 |
46 |
113 |
50 |
113 |
54 |
112 |
60 |
111 |
66 |
110 |
78 |
– |
– |
– |
– |
| (125) |
– |
– |
– |
– |
121 |
26 |
120 |
30 |
120 |
34 |
119 |
38 |
119 |
42 |
119 |
46 |
118 |
50 |
118 |
54 |
117 |
60 |
116 |
66 |
115 |
78 |
– |
– |
– |
– |
| 130 |
– |
– |
– |
– |
126 |
32 |
125 |
36 |
125 |
40 |
124 |
44 |
124 |
48 |
124 |
52 |
123 |
56 |
123 |
60 |
122 |
66 |
121 |
72 |
120 |
84 |
– |
– |
– |
– |
| 140 |
– |
– |
– |
– |
136 |
32 |
135 |
36 |
135 |
40 |
134 |
44 |
134 |
48 |
134 |
52 |
133 |
56 |
133 |
60 |
132 |
66 |
131 |
72 |
130 |
84 |
128 |
96 |
– |
– |
| 150 |
– |
– |
– |
– |
146 |
32 |
145 |
36 |
145 |
40 |
144 |
44 |
144 |
48 |
144 |
52 |
143 |
56 |
143 |
60 |
142 |
66 |
141 |
72 |
140 |
84 |
128 |
96 |
138 |
108 |
| 160 |
– |
– |
– |
– |
156 |
32 |
155 |
36 |
155 |
40 |
154 |
44 |
154 |
48 |
154 |
52 |
153 |
56 |
153 |
60 |
152 |
66 |
151 |
72 |
150 |
84 |
148 |
96 |
148 |
108 |
| 170 |
– |
– |
– |
– |
166 |
32 |
165 |
36 |
165 |
40 |
164 |
44 |
164 |
48 |
164 |
52 |
163 |
56 |
163 |
60 |
162 |
66 |
161 |
72 |
160 |
84 |
158 |
96 |
158 |
108 |
| 180 |
– |
– |
– |
– |
176 |
32 |
175 |
36 |
175 |
40 |
174 |
44 |
174 |
48 |
174 |
52 |
173 |
56 |
173 |
60 |
172 |
66 |
171 |
72 |
170 |
84 |
168 |
96 |
168 |
108 |
| 190 |
– |
– |
– |
– |
186 |
32 |
185 |
36 |
185 |
40 |
184 |
44 |
184 |
48 |
184 |
52 |
183 |
56 |
183 |
60 |
182 |
66 |
181 |
72 |
180 |
84 |
178 |
96 |
178 |
108 |
| 200 |
– |
– |
– |
– |
196 |
32 |
195 |
36 |
195 |
40 |
194 |
44 |
194 |
48 |
194 |
52 |
193 |
56 |
193 |
60 |
192 |
66 |
191 |
72 |
190 |
84 |
188 |
96 |
188 |
108 |
| 220 |
– |
– |
– |
– |
– |
– |
215 |
49 |
215 |
53 |
214 |
57 |
214 |
61 |
214 |
65 |
213 |
69 |
213 |
73 |
212 |
79 |
211 |
85 |
210 |
97 |
208 |
109 |
208 |
121 |
| 240 |
– |
– |
– |
– |
– |
– |
235 |
49 |
235 |
53 |
234 |
57 |
234 |
61 |
234 |
65 |
233 |
69 |
233 |
73 |
232 |
79 |
231 |
85 |
230 |
97 |
228 |
109 |
228 |
121 |
| 260 |
– |
– |
– |
– |
– |
– |
255 |
49 |
255 |
53 |
254 |
57 |
254 |
61 |
254 |
65 |
253 |
69 |
253 |
73 |
252 |
79 |
251 |
85 |
250 |
97 |
248 |
109 |
248 |
121 |
| 280 |
– |
– |
– |
– |
– |
– |
– |
– |
275 |
53 |
274 |
57 |
274 |
61 |
274 |
65 |
273 |
69 |
272 |
73 |
272 |
79 |
271 |
85 |
270 |
97 |
268 |
109 |
268 |
121 |
| 300 |
– |
– |
– |
– |
– |
– |
– |
– |
295 |
53 |
294 |
57 |
294 |
61 |
294 |
65 |
293 |
69 |
293 |
73 |
292 |
79 |
291 |
85 |
290 |
97 |
288 |
109 |
288 |
121 |
_______________________________________________________________________________________________________ МАССА
Длина
болта l мм |
Теоретическая масса 1000 шт. болтов кг, при номинальном диаметре резьбы d мм |
| 6 |
8 |
10 |
12 |
14 |
16 |
18 |
20 |
22 |
24 |
27 |
30 |
36 |
42 |
48 |
| 28 |
8,236 |
– |
– |
– |
– |
– |
– |
– |
– |
– |
– |
– |
– |
– |
– |
| 30 |
8,589 |
– |
– |
– |
– |
– |
– |
– |
– |
– |
– |
– |
– |
– |
– |
| 32 |
8,942 |
– |
– |
– |
– |
– |
– |
– |
– |
– |
– |
– |
– |
– |
– |
| 35 |
9,472 |
17,25 |
– |
– |
– |
– |
– |
– |
– |
– |
– |
– |
– |
– |
– |
| 38 |
10,02 |
18,21 |
– |
– |
– |
– |
– |
– |
– |
– |
– |
– |
– |
– |
– |
| 40 |
10,36 |
18,84 |
30,27 |
– |
– |
– |
– |
– |
– |
– |
– |
– |
– |
– |
– |
| 45 |
11,24 |
20,44 |
32,78 |
50,11 |
– |
– |
– |
– |
– |
– |
– |
– |
– |
– |
– |
| 50 |
12,12 |
22,03 |
35,29 |
53,75 |
– |
– |
– |
– |
– |
– |
– |
– |
– |
– |
– |
| 55 |
13,01 |
23,63 |
37,81 |
57,38 |
79,81 |
– |
– |
– |
– |
– |
– |
– |
– |
– |
– |
| 60 |
13,89 |
25,22 |
40,32 |
61,02 |
84,79 |
116,6 |
– |
– |
– |
– |
– |
– |
– |
– |
– |
| 65 |
14,78 |
26,81 |
42,83 |
64,66 |
89,77 |
123,3 |
157,6 |
– |
– |
– |
– |
– |
– |
– |
– |
| 70 |
15,66 |
28,41 |
45,35 |
68,3 |
94,74 |
130 |
165,8 |
213,7 |
– |
– |
– |
– |
– |
– |
– |
| 75 |
16,54 |
30 |
47,86 |
71,94 |
99,72 |
136,6 |
174,1 |
224,1 |
281,7 |
– |
– |
– |
– |
– |
– |
| 80 |
17,42 |
31,6 |
50,37 |
75,58 |
104,7 |
143,3 |
182,4 |
234,5 |
294,5 |
353,2 |
– |
– |
– |
– |
– |
| 85 |
18,31 |
33,19 |
52,88 |
79,22 |
109,7 |
150 |
190,7 |
243 |
307,3 |
368,2 |
– |
– |
– |
– |
– |
| 90 |
19,19 |
34,78 |
55,4 |
82,87 |
114,7 |
156,6 |
198,9 |
255,6 |
320,1 |
383,2 |
509,8 |
– |
– |
– |
– |
| 95 |
– |
36,38 |
57,91 |
86,51 |
119,6 |
163,3 |
207,2 |
265,8 |
332,9 |
398,2 |
529,2 |
– |
– |
– |
– |
| 100 |
– |
37,97 |
60,42 |
90,15 |
124,6 |
170 |
216,5 |
276,2 |
345,8 |
413,2 |
548,5 |
709,5 |
– |
– |
– |
| 105 |
– |
– |
62,93 |
93,79 |
129,6 |
176,6 |
223,7 |
286,6 |
358,5 |
428,2 |
567,9 |
733,2 |
– |
– |
– |
| 110 |
– |
– |
65,45 |
97,43 |
134,5 |
185,3 |
231,7 |
297 |
371,3 |
443,2 |
587,2 |
757 |
– |
– |
– |
| 115 |
– |
– |
67,96 |
101,1 |
139,5 |
190 |
240,3 |
307,4 |
384,1 |
458,2 |
606,6 |
780,7 |
1198 |
– |
– |
| 120 |
– |
– |
70,47 |
104,8 |
144,5 |
196,6 |
248,6 |
317,9 |
396,9 |
473,2 |
625,9 |
804,4 |
1232 |
– |
– |
| 125 |
– |
– |
72,99 |
108,4 |
149,5 |
203,3 |
256,8 |
328,3 |
409,7 |
488,2 |
645,3 |
828,1 |
1267 |
– |
– |
| 130 |
– |
– |
75,5 |
112 |
154,5 |
210 |
265,1 |
338,7 |
422,5 |
503,2 |
664,7 |
851,8 |
1301 |
– |
– |
| 140 |
– |
– |
80,52 |
119 |
164,4 |
223,3 |
281,7 |
359,5 |
448,1 |
533,2 |
703,7 |
899,2 |
1370 |
1985 |
– |
| 150 |
– |
– |
85,52 |
126,6 |
174,4 |
236,6 |
298,2 |
380,4 |
473,8 |
563,2 |
762 |
946,1 |
1439 |
2080 |
2864 |
| 160 |
– |
– |
90,57 |
133,9 |
184,4 |
250 |
314,7 |
401,2 |
499,4 |
593,2 |
800,8 |
994,1 |
1508 |
2174 |
2988 |
| 170 |
– |
– |
95,59 |
141,2 |
194,4 |
263,3 |
331,3 |
422 |
525 |
623,2 |
819,6 |
1041 |
1577 |
2268 |
3111 |
| 180 |
– |
– |
100,7 |
148,4 |
204,2 |
276,6 |
347,8 |
442,9 |
550,6 |
653,2 |
858,3 |
1089 |
1646 |
2362 |
3235 |
| 190 |
– |
– |
105,7 |
155,7 |
214,2 |
290 |
364,4 |
463 |
576,2 |
683,2 |
897 |
1136 |
1714 |
2456 |
3358 |
| 200 |
– |
– |
110,7 |
163 |
224,1 |
303 |
380,9 |
484,5 |
601,8 |
713,2 |
935,7 |
1184 |
1783 |
2551 |
3482 |
| 220 |
– |
– |
– |
177,5 |
244 |
330 |
414 |
526,2 |
653,1 |
773,2 |
1013 |
1279 |
1921 |
2739 |
3729 |
| 240 |
– |
– |
– |
192,2 |
263,9 |
356,6 |
447,1 |
567,9 |
704,3 |
833,2 |
1091 |
1373 |
2059 |
2927 |
3976 |
| 260 |
– |
– |
– |
206,7 |
283,8 |
383,3 |
480,2 |
609,5 |
755,5 |
893,3 |
1168 |
1468 |
2196 |
3116 |
4223 |
| 280 |
– |
– |
– |
– |
303,7 |
410 |
513,3 |
651,2 |
806,7 |
953,3 |
1246 |
1563 |
2334 |
3304 |
4471 |
| 300 |
– |
– |
– |
– |
323,6 |
426,6 |
564,4 |
692,9 |
858 |
1014 |
1323 |
1658 |
2472 |
3493 |
4718 |
|
________ВНЕШНИЙ ВИД

_____________ЧЕРТЕЖ
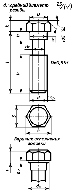
Пример условного обозначения болта исполнения 1 с диаметром резьбы d=24 мм, длиной l=120 мм, класса прочности 4.6: Болт М24×120.46 ГОСТ <br />15590-70.
То же, класса прочности 5.6, исполнения 2: Болт 2М24×120.56 ГОСТ 15590-70.
Внимание!
• Резьба – по ГОСТ 24705. • Сбег и недорез резьбы – по ГОСТ 27148. • Концы болтов – по ГОСТ 12414. • Радиус под головкой – по ГОСТ 24670. • Не установленные настоящим стандартом допуски размеров, отклонений формы и расположения поверхностей и методы контроля – по ГОСТ 1759.1. • Допустимые дефекты поверхности болтов и методы контроля – по ГОСТ 1759.2. • Технические требования – по ГОСТ 1759.0. • Размеры болтов, заключенные в скобки, применять не рекомендуется. • Для определения массы болтов из других материалов значения массы, указанные в таблице, следует умножить на коэффициенты: 0,356 – для алюминиевых сплавов; 1,080 – для латуни.
|
Последние комментарии
1 год 28 недель назад
3 года 15 недель назад
4 года 10 недель назад
4 года 10 недель назад
12 лет 19 недель назад
12 лет 19 недель назад
12 лет 19 недель назад
12 лет 19 недель назад
12 лет 20 недель назад
12 лет 20 недель назад