___________________________________________________________________________________________________ РАЗМЕРЫ В МИЛЛИМЕТРАХ
| Номинальный диаметр резьбы d |
6 |
8 |
10 |
12 |
(14) |
16 |
(18) |
20 |
(22) |
24 |
(27) |
30 |
36 |
42 |
48 |
| Шаг резьбы |
1 |
1,25 |
1,5 |
1,75 |
2 |
2,5 |
3 |
3,5 |
4 |
4,5 |
5 |
| Диаметр стержня d1 |
6 |
8 |
10 |
12 |
14 |
16 |
18 |
20 |
22 |
24 |
27 |
30 |
36 |
42 |
48 |
| Размер «под ключ» S |
10 |
12 |
14 |
17 |
19 |
22 |
24 |
27 |
30 |
32 |
36 |
41 |
50 |
60 |
70 |
| Высота головки k |
4 |
5 |
6 |
7 |
8 |
9 |
10 |
11 |
12 |
13 |
15 |
17 |
20 |
23 |
26 |
| Высота головки k1 |
4,2 |
5,3 |
6,4 |
7,5 |
8,8 |
10 |
12 |
12,5 |
14 |
15 |
17 |
18,7 |
22,5 |
26 |
30 |
| Диаметр описанной окружности е не менее |
10,9 |
13,1 |
15,3 |
18,7 |
20,9 |
23,9 |
26,2 |
29,6 |
33 |
35 |
39,6 |
45,2 |
55,4 |
66,4 |
76,9 |
| dw не менее |
8,7 |
10,5 |
12,5 |
15,5 |
17,2 |
20,1 |
22 |
24,8 |
27,7 |
29,5 |
33,2 |
38 |
46,6 |
55,9 |
64,7 |
| hw |
не менее |
0,15 |
0,2 |
0,25 |
| не более |
0,6 |
0,8 |
________________________________________________________________________________________РАЗМЕРЫ В МИЛЛИМЕТРАХ
Длина болта
l мм |
Длина резьбы l и расстояние от опорной поверхности головки до оси отверстия в стержне l1 при номинальном диаметре резьбы d (знаком / отмечены болты с резьбой по всей длине стержня) |
| 6 |
8 |
10 |
12 |
(14) |
16 |
18 |
20 |
(22) |
24 |
(27) |
30 |
36 |
42 |
48 |
| l1 |
b |
l1 |
b |
l1 |
b |
l1 |
b |
l1 |
b |
l1 |
b |
l1 |
b |
l1 |
b |
l1 |
b |
l1 |
b |
l1 |
b |
l1 |
b |
l1 |
b |
l1 |
b |
l1 |
b |
| 8 |
– |
/ |
– |
/ |
– |
– |
– |
– |
– |
– |
– |
– |
– |
– |
– |
– |
– |
– |
– |
– |
– |
– |
– |
– |
– |
– |
– |
– |
– |
– |
| 10 |
– |
/ |
– |
/ |
– |
/ |
– |
– |
– |
– |
– |
– |
– |
– |
– |
– |
– |
– |
– |
– |
– |
– |
– |
– |
– |
– |
– |
– |
– |
– |
| 12 |
– |
/ |
– |
/ |
– |
/ |
– |
– |
– |
– |
– |
– |
– |
– |
– |
– |
– |
– |
– |
– |
– |
– |
– |
– |
– |
– |
– |
– |
– |
– |
| 14 |
10 |
/ |
– |
/ |
– |
/ |
– |
/ |
– |
– |
– |
– |
– |
– |
– |
– |
– |
– |
– |
– |
– |
– |
– |
– |
– |
– |
– |
– |
– |
– |
| 16 |
12 |
/ |
12 |
/ |
– |
/ |
– |
/ |
– |
/ |
– |
– |
– |
– |
– |
– |
– |
– |
– |
– |
– |
– |
– |
– |
– |
– |
– |
– |
– |
– |
| (18) |
14 |
/ |
14 |
/ |
14 |
/ |
– |
/ |
– |
/ |
– |
/ |
– |
– |
– |
– |
– |
– |
– |
– |
– |
– |
– |
– |
– |
– |
– |
– |
– |
– |
| 20 |
16 |
/ |
16 |
/ |
16 |
/ |
15 |
/ |
– |
/ |
– |
/ |
– |
/ |
– |
– |
– |
– |
– |
– |
– |
– |
– |
– |
– |
– |
– |
– |
– |
– |
| (22) |
18 |
18 |
18 |
/ |
18 |
/ |
17 |
/ |
17 |
/ |
– |
/ |
– |
/ |
– |
– |
– |
– |
– |
– |
– |
– |
– |
– |
– |
– |
– |
– |
– |
– |
| 25 |
21 |
18 |
21 |
/ |
21 |
/ |
20 |
/ |
20 |
/ |
19 |
/ |
– |
/ |
– |
/ |
– |
– |
– |
– |
– |
– |
– |
– |
– |
– |
– |
– |
– |
– |
| (28) |
24 |
18 |
24 |
22 |
24 |
/ |
23 |
/ |
23 |
/ |
22 |
/ |
22 |
/ |
– |
/ |
– |
/ |
– |
– |
– |
– |
– |
– |
– |
– |
– |
– |
– |
– |
| 30 |
26 |
18 |
26 |
22 |
26 |
/ |
25 |
/ |
25 |
/ |
24 |
/ |
24 |
/ |
24 |
/ |
– |
/ |
– |
– |
– |
– |
– |
– |
– |
– |
– |
– |
– |
– |
| (32) |
28 |
18 |
28 |
22 |
28 |
26 |
27 |
/ |
27 |
/ |
26 |
/ |
26 |
/ |
26 |
/ |
25 |
/ |
– |
/ |
– |
– |
– |
– |
– |
– |
– |
– |
– |
– |
| 35 |
31 |
18 |
31 |
22 |
31 |
26 |
30 |
30 |
30 |
/ |
29 |
/ |
29 |
/ |
29 |
/ |
28 |
/ |
28 |
/ |
– |
/ |
– |
– |
– |
– |
– |
– |
– |
– |
| (38) |
34 |
18 |
34 |
22 |
34 |
26 |
33 |
30 |
33 |
/ |
32 |
/ |
32 |
/ |
32 |
/ |
31 |
/ |
31 |
/ |
– |
/ |
– |
– |
– |
– |
– |
– |
– |
– |
| 40 |
36 |
18 |
36 |
22 |
36 |
26 |
35 |
30 |
35 |
34 |
34 |
/ |
34 |
/ |
34 |
/ |
33 |
/ |
33 |
/ |
32 |
/ |
– |
/ |
– |
– |
– |
– |
– |
– |
| 45 |
41 |
18 |
41 |
22 |
41 |
26 |
40 |
30 |
40 |
34 |
39 |
38 |
39 |
/ |
39 |
/ |
38 |
/ |
38 |
/ |
37 |
/ |
36 |
/ |
– |
– |
– |
– |
– |
– |
| 50 |
46 |
18 |
46 |
22 |
46 |
26 |
45 |
30 |
45 |
34 |
44 |
38 |
44 |
42 |
44 |
/ |
43 |
/ |
43 |
/ |
42 |
/ |
41 |
/ |
40 |
/ |
– |
– |
– |
– |
| 55 |
51 |
18 |
51 |
22 |
51 |
26 |
50 |
30 |
50 |
34 |
49 |
38 |
49 |
42 |
49 |
46 |
48 |
/ |
48 |
/ |
47 |
/ |
46 |
/ |
45 |
/ |
– |
/ |
– |
– |
| 60 |
56 |
18 |
56 |
22 |
56 |
26 |
55 |
30 |
55 |
34 |
54 |
38 |
54 |
42 |
54 |
46 |
53 |
50 |
33 |
/ |
52 |
/ |
51 |
/ |
50 |
/ |
48 |
/ |
– |
– |
| 65 |
61 |
18 |
61 |
22 |
61 |
26 |
60 |
30 |
60 |
34 |
59 |
38 |
59 |
42 |
59 |
46 |
58 |
50 |
58 |
54 |
57 |
/ |
56 |
/ |
55 |
/ |
33 |
/ |
– |
/ |
| 70 |
66 |
18 |
66 |
22 |
66 |
26 |
65 |
30 |
65 |
34 |
64 |
38 |
64 |
42 |
64 |
46 |
63 |
50 |
63 |
54 |
62 |
60 |
61 |
/ |
60 |
/ |
58 |
/ |
58 |
/ |
| 75 |
71 |
18 |
71 |
22 |
71 |
26 |
70 |
30 |
70 |
34 |
69 |
38 |
69 |
42 |
69 |
46 |
68 |
50 |
68 |
54 |
67 |
60 |
66 |
66 |
65 |
/ |
63 |
/ |
63 |
/ |
| 80 |
76 |
18 |
76 |
22 |
76 |
26 |
75 |
30 |
75 |
34 |
74 |
38 |
74 |
42 |
74 |
46 |
73 |
50 |
73 |
54 |
72 |
60 |
71 |
66 |
70 |
/ |
68 |
/ |
68 |
/ |
| (85) |
81 |
18 |
81 |
22 |
81 |
26 |
80 |
30 |
80 |
34 |
79 |
38 |
79 |
42 |
79 |
46 |
78 |
50 |
78 |
54 |
77 |
60 |
76 |
66 |
73 |
/ |
73 |
/ |
73 |
/ |
| 90 |
86 |
18 |
86 |
22 |
86 |
26 |
85 |
30 |
85 |
34 |
84 |
38 |
84 |
42 |
84 |
46 |
83 |
50 |
83 |
54 |
82 |
60 |
81 |
66 |
80 |
78 |
78 |
/ |
78 |
/ |
| (95) |
– |
– |
91 |
22 |
91 |
26 |
90 |
30 |
90 |
34 |
89 |
38 |
89 |
42 |
89 |
46 |
88 |
50 |
88 |
54 |
87 |
60 |
86 |
66 |
85 |
78 |
83 |
/ |
83 |
/ |
| 100 |
– |
– |
96 |
22 |
96 |
26 |
95 |
30 |
95 |
34 |
94 |
38 |
94 |
42 |
94 |
46 |
93 |
50 |
93 |
54 |
92 |
60 |
91 |
66 |
90 |
78 |
88 |
/ |
88 |
/ |
| (105) |
– |
– |
– |
– |
101 |
26 |
100 |
30 |
100 |
34 |
99 |
38 |
99 |
42 |
99 |
46 |
98 |
50 |
98 |
54 |
97 |
60 |
96 |
66 |
95 |
78 |
93 |
90 |
93 |
/ |
| 110 |
– |
– |
– |
– |
106 |
26 |
105 |
30 |
105 |
34 |
104 |
38 |
104 |
42 |
104 |
46 |
103 |
50 |
103 |
54 |
102 |
60 |
101 |
66 |
100 |
78 |
98 |
90 |
98 |
/ |
| (115) |
– |
– |
– |
– |
111 |
26 |
110 |
30 |
110 |
34 |
109 |
38 |
109 |
42 |
109 |
46 |
108 |
50 |
108 |
54 |
107 |
60 |
106 |
66 |
105 |
78 |
103 |
90 |
103 |
102 |
| 120 |
– |
– |
– |
– |
116 |
26 |
115 |
30 |
115 |
34 |
114 |
38 |
114 |
42 |
114 |
46 |
113 |
50 |
113 |
54 |
112 |
60 |
111 |
66 |
110 |
78 |
108 |
90 |
108 |
102 |
| (125) |
– |
– |
– |
– |
121 |
26 |
120 |
30 |
120 |
34 |
119 |
38 |
119 |
42 |
119 |
46 |
118 |
50 |
118 |
54 |
117 |
60 |
116 |
66 |
115 |
78 |
113 |
90 |
113 |
102 |
| 130 |
– |
– |
– |
– |
126 |
32 |
125 |
36 |
125 |
40 |
124 |
44 |
124 |
48 |
124 |
52 |
123 |
56 |
123 |
60 |
122 |
66 |
121 |
72 |
120 |
84 |
118 |
96 |
118 |
108 |
| 140 |
– |
– |
– |
– |
136 |
32 |
135 |
36 |
135 |
40 |
134 |
44 |
134 |
48 |
134 |
52 |
133 |
56 |
133 |
60 |
132 |
66 |
131 |
72 |
130 |
84 |
128 |
96 |
128 |
108 |
| 150 |
– |
– |
– |
– |
146 |
32 |
145 |
36 |
145 |
40 |
144 |
44 |
144 |
48 |
144 |
52 |
143 |
56 |
143 |
60 |
142 |
66 |
141 |
72 |
140 |
84 |
138 |
96 |
138 |
108 |
| 160 |
– |
– |
– |
– |
156 |
32 |
155 |
36 |
155 |
40 |
154 |
44 |
154 |
48 |
154 |
52 |
153 |
56 |
153 |
60 |
152 |
66 |
151 |
72 |
150 |
84 |
148 |
96 |
148 |
108 |
| 170 |
– |
– |
– |
– |
166 |
32 |
165 |
36 |
165 |
40 |
164 |
44 |
164 |
48 |
164 |
52 |
163 |
56 |
163 |
60 |
162 |
66 |
161 |
72 |
160 |
84 |
158 |
96 |
158 |
108 |
| 180 |
– |
– |
– |
– |
176 |
32 |
175 |
36 |
175 |
40 |
174 |
44 |
174 |
48 |
174 |
52 |
173 |
56 |
173 |
60 |
172 |
66 |
171 |
72 |
170 |
84 |
168 |
96 |
168 |
108 |
| 190 |
– |
– |
– |
– |
186 |
32 |
185 |
36 |
185 |
40 |
184 |
44 |
184 |
48 |
184 |
52 |
183 |
56 |
183 |
60 |
182 |
66 |
181 |
72 |
180 |
84 |
178 |
96 |
178 |
108 |
| 200 |
– |
– |
– |
– |
196 |
32 |
195 |
36 |
195 |
40 |
194 |
44 |
194 |
48 |
194 |
52 |
193 |
56 |
193 |
60 |
192 |
66 |
191 |
72 |
190 |
84 |
188 |
96 |
188 |
108 |
| 220 |
– |
– |
– |
– |
– |
– |
215 |
49 |
215 |
53 |
214 |
57 |
214 |
61 |
214 |
65 |
213 |
69 |
213 |
73 |
212 |
79 |
211 |
85 |
210 |
97 |
208 |
109 |
208 |
121 |
| 240 |
– |
– |
– |
– |
– |
– |
235 |
49 |
235 |
53 |
234 |
57 |
234 |
61 |
234 |
65 |
233 |
69 |
233 |
73 |
232 |
79 |
231 |
85 |
230 |
97 |
228 |
109 |
228 |
121 |
| 260 |
– |
– |
– |
– |
– |
– |
255 |
49 |
255 |
53 |
254 |
57 |
254 |
61 |
254 |
65 |
253 |
69 |
253 |
73 |
252 |
79 |
251 |
85 |
250 |
97 |
248 |
109 |
248 |
121 |
| 280 |
– |
– |
– |
– |
– |
– |
– |
– |
275 |
53 |
274 |
57 |
274 |
61 |
274 |
65 |
273 |
69 |
273 |
73 |
272 |
79 |
271 |
85 |
270 |
97 |
268 |
109 |
268 |
121 |
| 300 |
– |
– |
– |
– |
– |
– |
– |
– |
295 |
53 |
294 |
57 |
294 |
61 |
294 |
65 |
293 |
69 |
293 |
73 |
292 |
79 |
291 |
85 |
290 |
97 |
288 |
109 |
288 |
121 |
_______________________________________________________________________________________________________ МАССА
Длина
болта l мм |
Теоретическая масса 1000 шт. болтов кг, при номинальном диаметре резьбы d мм |
| 6 |
8 |
10 |
12 |
14 |
16 |
18 |
20 |
22 |
24 |
27 |
30 |
36 |
42 |
48 |
| 8 |
4,105 |
7,732 |
– |
– |
– |
– |
– |
– |
– |
– |
– |
– |
– |
– |
– |
| 10 |
4,454 |
8,458 |
13,57 |
– |
– |
– |
– |
– |
– |
– |
– |
– |
– |
– |
– |
| 12 |
4,804 |
9,184 |
14,71 |
– |
– |
– |
– |
– |
– |
– |
– |
– |
– |
– |
– |
| 14 |
5,153 |
9,91 |
15,85 |
25,09 |
– |
– |
– |
– |
– |
– |
– |
– |
– |
– |
– |
| 16 |
5,502 |
10,64 |
16,99 |
26,73 |
35,04 |
– |
– |
– |
– |
– |
– |
– |
– |
– |
– |
| 18 |
5,851 |
11,36 |
18,12 |
28,37 |
37,28 |
55,8 |
– |
– |
– |
– |
– |
– |
– |
– |
– |
| 20 |
6,201 |
12,09 |
19,26 |
30,01 |
39,52 |
58,75 |
75,63 |
– |
– |
– |
– |
– |
– |
– |
– |
| 22 |
6,55 |
12,81 |
20,4 |
31,65 |
41,76 |
61,7 |
79,39 |
– |
– |
– |
– |
– |
– |
– |
– |
| 25 |
7,074 |
13,9 |
22,11 |
34,11 |
45,11 |
66,12 |
84,95 |
111,5 |
– |
– |
– |
– |
– |
– |
– |
| 28 |
7,598 |
15,15 |
23,81 |
36,57 |
48,47 |
70,54 |
90,51 |
118,4 |
– |
– |
– |
– |
– |
– |
– |
| 30 |
7,947 |
15,94 |
24,95 |
38,21 |
50,71 |
73,49 |
94,21 |
123 |
156,5 |
– |
– |
– |
– |
– |
– |
| 32 |
8,296 |
16,72 |
26,32 |
39,85 |
52,95 |
76,44 |
97,92 |
127,6 |
162,1 |
195,6 |
– |
– |
– |
– |
– |
| 35 |
8,82 |
17,91 |
28,17 |
42,59 |
56,3 |
80,86 |
103,5 |
134,6 |
170,5 |
205,6 |
279 |
– |
– |
– |
– |
| 38 |
9,344 |
19,09 |
30,02 |
45,26 |
59,66 |
85,28 |
109 |
141,5 |
178,9 |
215,6 |
291,7 |
– |
– |
– |
– |
| 40 |
9,693 |
19,88 |
31,25 |
47,03 |
64,56 |
88,23 |
112,7 |
146,1 |
184,5 |
222,2 |
300,2 |
400,7 |
– |
– |
– |
| 45 |
10,566 |
21,86 |
34,34 |
51,48 |
70,6 |
96,26 |
122 |
157,7 |
198,5 |
238,8 |
321,3 |
426,8 |
– |
– |
– |
| 50 |
11,439 |
23,83 |
37,42 |
55,92 |
76,55 |
104,2 |
132,2 |
169,2 |
212,6 |
255,4 |
342,5 |
452,8 |
712,6 |
– |
– |
| 55 |
12,312 |
25,81 |
40,51 |
60,36 |
82,7 |
112,1 |
142,2 |
181,9 |
226,6 |
272 |
363,7 |
478,9 |
750,3 |
1124 |
– |
| 60 |
13,186 |
27,78 |
43,59 |
64,8 |
88,74 |
120 |
152,2 |
194,3 |
242,6 |
288,6 |
384,9 |
504,9 |
787,9 |
1175 |
– |
| 65 |
14,059 |
29,76 |
46,68 |
69,25 |
94,79 |
127,8 |
162,2 |
206,6 |
257,5 |
307,4 |
406 |
531 |
825,5 |
1226 |
1729 |
| 70 |
14,932 |
31,73 |
49,76 |
73,69 |
100,8 |
135,8 |
172,2 |
218,9 |
272,4 |
325,2 |
429,5 |
557 |
863,2 |
1278 |
1796 |
| 75 |
15,805 |
33,71 |
52,85 |
78,13 |
106,9 |
143,7 |
182,2 |
231,3 |
287,4 |
342,9 |
452 |
585,6 |
900,8 |
1329 |
1863 |
| 80 |
16,678 |
35,68 |
55,93 |
82,57 |
112,9 |
151,6 |
192,2 |
243,6 |
302,3 |
360,7 |
474,4 |
613,4 |
938,4 |
1380 |
1930 |
| 85 |
17,551 |
37,65 |
56,02 |
87,02 |
119 |
154,9 |
202,2 |
256 |
317,2 |
378,5 |
496,9 |
641,1 |
976 |
1432 |
1998 |
| 90 |
18,424 |
39,63 |
62,1 |
91,46 |
125 |
167,4 |
212,2 |
268,3 |
332,2 |
396,2 |
519,4 |
668,9 |
1018 |
1483 |
2065 |
| 95 |
– |
41,6 |
65,19 |
95,9 |
131,1 |
175,2 |
222,2 |
280,6 |
347,1 |
414 |
541,9 |
696,7 |
1059 |
1534 |
2132 |
| 100 |
– |
43,58 |
68,27 |
100,3 |
137,1 |
183,1 |
232,2 |
293 |
362 |
431,8 |
564,4 |
724,4 |
1098 |
1586 |
2199 |
| 105 |
– |
– |
71,36 |
104,8 |
143,2 |
191 |
242,1 |
305,3 |
377 |
449,6 |
586,9 |
752,2 |
1138 |
1645 |
2266 |
| 110 |
– |
– |
74,44 |
109,2 |
149,2 |
198,9 |
252,1 |
317,7 |
391,9 |
467,3 |
609,4 |
780 |
1178 |
1699 |
2332 |
| 115 |
– |
– |
77,52 |
113,7 |
155,3 |
206,8 |
262,1 |
330 |
406,8 |
485,1 |
631,9 |
807,7 |
1218 |
1753 |
2409 |
| 120 |
– |
– |
80,61 |
118,1 |
161,3 |
214,7 |
272,1 |
342,3 |
421,8 |
502,9 |
654,4 |
835,5 |
1258 |
1808 |
2480 |
| 125 |
– |
– |
83,7 |
122,6 |
167,4 |
222,6 |
282,1 |
354,7 |
436,7 |
520,6 |
676,8 |
863,3 |
1298 |
1863 |
2550 |
| 130 |
– |
– |
86,78 |
127 |
173,4 |
230,5 |
292,1 |
367 |
451,6 |
538,4 |
699,3 |
891 |
1338 |
1917 |
2623 |
| 140 |
– |
– |
92,94 |
135,9 |
185,5 |
246,3 |
312,1 |
391,7 |
481,5 |
574 |
744,3 |
946,6 |
1418 |
2026 |
2765 |
| 150 |
– |
– |
99,11 |
144,8 |
197,6 |
262,1 |
332,1 |
416,4 |
511,3 |
609,5 |
789,3 |
1002 |
1498 |
2135 |
2907 |
| 160 |
– |
– |
105,3 |
153,6 |
207,7 |
277,9 |
352,1 |
441,1 |
541,2 |
645 |
834,3 |
1058 |
1578 |
2244 |
3049 |
| 170 |
– |
– |
111,4 |
162,5 |
221,8 |
293,7 |
372,1 |
465,7 |
571 |
680,6 |
879,3 |
1113 |
1658 |
2353 |
3191 |
| 180 |
– |
– |
117,6 |
171,4 |
233,9 |
309,5 |
392,1 |
490,4 |
600,9 |
716,1 |
924,3 |
1169 |
1738 |
2461 |
3333 |
| 190 |
– |
– |
123,8 |
180,3 |
246 |
325,3 |
412,1 |
515,1 |
630,8 |
751,6 |
969,2 |
1224 |
1818 |
2570 |
3475 |
| 200 |
– |
– |
130 |
189,2 |
258 |
341,1 |
432,1 |
539,8 |
660,7 |
787,2 |
1014 |
1280 |
1898 |
2679 |
3618 |
| 220 |
– |
– |
– |
207 |
282,2 |
372,7 |
472,1 |
589,1 |
720,4 |
858,2 |
1104 |
1391 |
2058 |
2897 |
3902 |
| 240 |
– |
– |
– |
224,7 |
306,4 |
404,3 |
512 |
638,5 |
780,1 |
929,4 |
1194 |
1502 |
2218 |
3115 |
4186 |
| 260 |
– |
– |
– |
245,5 |
330,6 |
435,9 |
552 |
687,6 |
839,9 |
1000 |
1284 |
1613 |
2378 |
3332 |
4471 |
| 280 |
– |
– |
– |
– |
354,8 |
467,5 |
592 |
737,2 |
899,5 |
1072 |
1374 |
1724 |
2538 |
3550 |
4755 |
| 300 |
– |
– |
– |
– |
378 |
499 |
632 |
786,6 |
959,3 |
1143 |
1464 |
1835 |
2698 |
3768 |
5039 |
|
________ВНЕШНИЙ ВИД

_____________ЧЕРТЕЖ
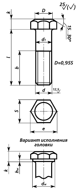
Пример условного обозначения болта исполнения 1 с диаметром резьбы d=24 мм, длиной l=120 мм, класса прочности 4.6: Болт М24×120.46 ГОСТ 15591-70.
То же, класса прочности 5.6, исполнения 2: Болт 2М24×120.56 ГОСТ 15591-70.
Внимание!
• Резьба – • Резьба – по ГОСТ 24705. • Сбег и недорез резьбы – по ГОСТ 27148. • Концы болтов – по ГОСТ 12414. • Радиус под головкой – по ГОСТ 24670. • Не установленные настоящим стандартом допуски размеров, отклонений формы и расположения поверхностей и методы контроля – по ГОСТ 1759.1. • Допустимые дефекты поверхности болтов и методы контроля – по ГОСТ 1759.2. • Технические требования – по ГОСТ 1759.0. • Размеры болтов, заключенные в скобки, применять не рекомендуется. • Для определения массы болтов из других материалов значения массы, указанные в таблице, следует умножить на коэффициенты: 0,356 – для алюминиевых сплавов; 1,080 – для латуни.
|
Последние комментарии
1 год 28 недель назад
3 года 15 недель назад
4 года 10 недель назад
4 года 10 недель назад
12 лет 19 недель назад
12 лет 19 недель назад
12 лет 19 недель назад
12 лет 19 недель назад
12 лет 20 недель назад
12 лет 20 недель назад