___________________________________________________________________________________________________ РАЗМЕРЫ В МИЛЛИМЕТРАХ
| Номинальный диаметр резьбы d |
6 |
8 |
10 |
12 |
(14) |
16 |
(18) |
20 |
(22) |
24 |
(27) |
30 |
36 |
42 |
48 |
| Шаг резьбы |
крупный |
1 |
1,25 |
1,5 |
1,75 |
2 |
2,5 |
3 |
3,5 |
4 |
4,5 |
5 |
| мелкий |
– |
1 |
1,25 |
1,5 |
2 |
3 |
| Диаметр стержня d1 |
6 |
8 |
10 |
12 |
14 |
16 |
18 |
20 |
22 |
24 |
27 |
30 |
36 |
42 |
48 |
| Размер «под ключ» S |
10 |
13 |
16 |
18 |
21 |
24 |
27 |
30 |
34 |
36 |
41 |
46 |
55 |
65 |
75 |
| Высота головки k |
4 |
5,3 |
6,4 |
7,5 |
8,8 |
10 |
12 |
12,5 |
14 |
15 |
17 |
18,7 |
22,5 |
26 |
30 |
| Диаметр описанной окружности е не менее |
10,9 |
14,2 |
17,6 |
19,9 |
22,8 |
26,2 |
29,6 |
33 |
37,3 |
39,6 |
45,2 |
50,9 |
60,8 |
71,3 |
82,6 |
| dw не менее |
8,7 |
11,5 |
14,5 |
16,5 |
19,2 |
22 |
24,8 |
27,7 |
31,4 |
33,2 |
38 |
42,7 |
51,1 |
59,9 |
69,4 |
| hw |
не менее |
0,15 |
0,2 |
0,25 |
| не более |
0,6 |
0,8 |
________________________________________________________________________________________РАЗМЕРЫ В МИЛЛИМЕТРАХ
| Длина болта l мм |
Длина резьбы b и расстояние от опорной поверхности головки до оси отверстия в стержне l1 при номинальном диаметре резьбы d (знаком × отмечены болты с резьбой на всей длине стержня) |
| 6 |
8 |
10 |
12 |
(14) |
16 |
(18) |
20 |
(22) |
24 |
(27) |
30 |
36 |
42 |
48 |
| l1 |
b |
l1 |
b |
l1 |
b |
l1 |
b |
l1 |
b |
l1 |
b |
l1 |
b |
l1 |
b |
l1 |
b |
l1 |
b |
l1 |
b |
l1 |
b |
l1 |
b |
l1 |
b |
l1 |
b |
| 8 |
– |
× |
– |
× |
– |
– |
– |
– |
– |
– |
– |
– |
– |
– |
– |
– |
– |
– |
– |
– |
– |
– |
– |
– |
– |
– |
– |
– |
– |
– |
| 10 |
– |
× |
– |
× |
– |
× |
– |
– |
– |
– |
– |
– |
– |
– |
– |
– |
– |
– |
– |
– |
– |
– |
– |
– |
– |
– |
– |
– |
– |
– |
| 12 |
– |
× |
– |
× |
– |
× |
– |
– |
– |
– |
– |
– |
– |
– |
– |
– |
– |
– |
– |
– |
– |
– |
– |
– |
– |
– |
– |
– |
– |
– |
| 14 |
10 |
× |
– |
× |
– |
× |
– |
× |
– |
– |
– |
– |
– |
– |
– |
– |
– |
– |
– |
– |
– |
– |
– |
– |
– |
– |
– |
– |
– |
– |
| 16 |
12 |
× |
12 |
× |
– |
× |
– |
× |
– |
× |
– |
– |
– |
– |
– |
– |
– |
– |
– |
– |
– |
– |
– |
– |
– |
– |
– |
– |
– |
– |
| (18) |
14 |
× |
14 |
× |
14 |
× |
– |
× |
– |
× |
– |
× |
– |
– |
– |
– |
– |
– |
– |
– |
– |
– |
– |
– |
– |
– |
– |
– |
– |
– |
| 20 |
16 |
× |
16 |
× |
16 |
× |
15 |
× |
– |
× |
– |
× |
– |
× |
– |
– |
– |
– |
– |
– |
– |
– |
– |
– |
– |
– |
– |
– |
– |
– |
| (22) |
18 |
18 |
18 |
× |
18 |
× |
17 |
× |
17 |
× |
– |
× |
– |
× |
– |
– |
– |
– |
– |
– |
– |
– |
– |
– |
– |
– |
– |
– |
– |
– |
| 25 |
21 |
18 |
21 |
× |
21 |
× |
20 |
× |
20 |
× |
19 |
× |
– |
× |
– |
× |
– |
– |
– |
– |
– |
– |
– |
– |
– |
– |
– |
– |
– |
– |
| (28) |
24 |
18 |
24 |
22 |
24 |
× |
23 |
× |
23 |
× |
22 |
× |
22 |
× |
– |
× |
– |
× |
– |
– |
– |
– |
– |
– |
– |
– |
– |
– |
– |
– |
| 30 |
26 |
18 |
26 |
22 |
26 |
× |
25 |
× |
25 |
× |
24 |
× |
24 |
× |
24 |
× |
– |
× |
– |
– |
– |
– |
– |
– |
– |
– |
– |
– |
– |
– |
| (32) |
28 |
18 |
28 |
22 |
28 |
26 |
27 |
× |
27 |
× |
26 |
× |
26 |
× |
26 |
× |
25 |
× |
– |
× |
– |
– |
– |
– |
– |
– |
– |
– |
– |
– |
| 35 |
31 |
18 |
31 |
22 |
31 |
26 |
30 |
30 |
30 |
× |
29 |
× |
29 |
× |
29 |
× |
28 |
× |
28 |
× |
– |
× |
– |
– |
– |
– |
– |
– |
– |
– |
| (38) |
34 |
18 |
34 |
22 |
34 |
26 |
33 |
30 |
33 |
× |
32 |
× |
32 |
× |
32 |
× |
31 |
× |
31 |
× |
– |
× |
– |
– |
– |
– |
– |
– |
– |
– |
| 40 |
36 |
18 |
36 |
22 |
36 |
26 |
35 |
30 |
35 |
34 |
34 |
× |
34 |
× |
34 |
× |
33 |
× |
33 |
× |
32 |
× |
– |
× |
– |
– |
– |
– |
– |
– |
| 45 |
41 |
18 |
41 |
22 |
41 |
26 |
40 |
30 |
40 |
34 |
39 |
38 |
39 |
× |
39 |
× |
38 |
× |
38 |
× |
37 |
× |
36 |
× |
– |
– |
– |
– |
– |
– |
| 50 |
46 |
18 |
46 |
22 |
46 |
26 |
45 |
30 |
45 |
34 |
44 |
38 |
44 |
42 |
44 |
× |
43 |
× |
43 |
× |
42 |
× |
41 |
× |
40 |
× |
– |
– |
– |
– |
| 55 |
51 |
18 |
51 |
22 |
51 |
26 |
50 |
30 |
50 |
34 |
49 |
38 |
49 |
42 |
49 |
46 |
48 |
× |
48 |
× |
47 |
× |
46 |
× |
45 |
× |
– |
× |
– |
– |
| 60 |
56 |
18 |
56 |
22 |
56 |
26 |
55 |
30 |
55 |
34 |
54 |
38 |
54 |
42 |
54 |
46 |
53 |
50 |
53 |
× |
52 |
× |
51 |
× |
50 |
× |
48 |
× |
– |
– |
| 65 |
61 |
18 |
61 |
22 |
61 |
26 |
60 |
30 |
60 |
34 |
59 |
38 |
59 |
42 |
59 |
46 |
58 |
50 |
58 |
54 |
57 |
× |
56 |
× |
55 |
× |
53 |
× |
– |
– |
| 70 |
66 |
18 |
66 |
22 |
66 |
26 |
65 |
30 |
65 |
34 |
64 |
38 |
64 |
42 |
64 |
46 |
63 |
50 |
63 |
54 |
62 |
60 |
61 |
× |
60 |
× |
58 |
× |
58 |
× |
| 75 |
71 |
18 |
71 |
22 |
71 |
26 |
70 |
30 |
70 |
34 |
69 |
38 |
69 |
42 |
69 |
46 |
68 |
50 |
68 |
54 |
67 |
60 |
66 |
66 |
65 |
× |
63 |
× |
63 |
× |
| 80 |
76 |
18 |
76 |
22 |
76 |
26 |
75 |
30 |
75 |
34 |
74 |
38 |
74 |
42 |
74 |
46 |
73 |
50 |
73 |
54 |
72 |
60 |
71 |
66 |
70 |
× |
68 |
× |
68 |
× |
| (85) |
81 |
18 |
81 |
22 |
81 |
26 |
80 |
30 |
80 |
34 |
79 |
38 |
79 |
42 |
79 |
46 |
78 |
50 |
78 |
54 |
77 |
60 |
76 |
66 |
75 |
× |
73 |
× |
73 |
× |
| 90 |
86 |
18 |
86 |
22 |
86 |
26 |
85 |
30 |
85 |
34 |
84 |
38 |
84 |
42 |
84 |
46 |
83 |
50 |
83 |
54 |
82 |
60 |
81 |
66 |
80 |
78 |
78 |
× |
78 |
× |
| (95) |
– |
– |
91 |
22 |
91 |
26 |
90 |
30 |
90 |
34 |
89 |
38 |
89 |
42 |
89 |
46 |
88 |
50 |
88 |
54 |
87 |
60 |
86 |
66 |
85 |
78 |
83 |
× |
83 |
× |
| 100 |
– |
– |
96 |
22 |
96 |
26 |
95 |
30 |
95 |
34 |
94 |
38 |
94 |
42 |
94 |
46 |
93 |
50 |
93 |
54 |
92 |
60 |
91 |
66 |
90 |
78 |
88 |
× |
88 |
× |
| (105) |
– |
– |
– |
– |
101 |
26 |
100 |
30 |
100 |
34 |
99 |
38 |
99 |
42 |
99 |
46 |
98 |
50 |
98 |
54 |
97 |
60 |
96 |
66 |
95 |
78 |
93 |
90 |
93 |
× |
| 110 |
– |
– |
– |
– |
106 |
26 |
105 |
30 |
105 |
34 |
104 |
38 |
104 |
42 |
104 |
46 |
103 |
50 |
103 |
54 |
102 |
60 |
101 |
66 |
100 |
78 |
98 |
90 |
98 |
× |
| (115) |
– |
– |
– |
– |
111 |
26 |
110 |
30 |
110 |
34 |
109 |
38 |
109 |
42 |
109 |
46 |
108 |
50 |
108 |
54 |
107 |
60 |
106 |
66 |
105 |
78 |
103 |
90 |
103 |
102 |
| 120 |
– |
– |
– |
– |
116 |
26 |
115 |
30 |
115 |
34 |
114 |
38 |
114 |
42 |
114 |
46 |
113 |
50 |
113 |
54 |
112 |
60 |
111 |
66 |
110 |
78 |
108 |
90 |
108 |
102 |
| (125) |
– |
– |
– |
– |
121 |
26 |
120 |
30 |
120 |
34 |
119 |
38 |
119 |
42 |
119 |
46 |
118 |
50 |
118 |
54 |
117 |
60 |
116 |
66 |
115 |
78 |
113 |
90 |
113 |
102 |
| 130 |
– |
– |
– |
– |
126 |
32 |
125 |
36 |
125 |
40 |
124 |
44 |
124 |
48 |
124 |
52 |
123 |
56 |
123 |
60 |
122 |
66 |
121 |
72 |
120 |
84 |
118 |
96 |
118 |
108 |
| 140 |
– |
– |
– |
– |
136 |
32 |
135 |
36 |
135 |
40 |
134 |
44 |
134 |
48 |
134 |
52 |
133 |
56 |
133 |
60 |
132 |
66 |
131 |
72 |
130 |
84 |
128 |
96 |
128 |
108 |
| 150 |
– |
– |
– |
– |
146 |
32 |
145 |
36 |
145 |
40 |
144 |
44 |
144 |
48 |
144 |
52 |
143 |
56 |
143 |
60 |
142 |
66 |
141 |
72 |
140 |
84 |
138 |
96 |
138 |
108 |
| 160 |
– |
– |
– |
– |
156 |
32 |
155 |
36 |
155 |
40 |
154 |
44 |
154 |
48 |
154 |
52 |
153 |
56 |
153 |
60 |
152 |
66 |
151 |
72 |
150 |
84 |
148 |
96 |
148 |
108 |
| 170 |
– |
– |
– |
– |
166 |
32 |
165 |
36 |
165 |
40 |
164 |
44 |
164 |
48 |
164 |
52 |
163 |
56 |
163 |
60 |
162 |
66 |
161 |
72 |
160 |
84 |
158 |
96 |
158 |
108 |
| 180 |
– |
– |
– |
– |
176 |
32 |
175 |
36 |
175 |
40 |
174 |
44 |
174 |
48 |
174 |
52 |
173 |
56 |
173 |
60 |
172 |
66 |
171 |
72 |
170 |
84 |
168 |
96 |
168 |
108 |
| 190 |
– |
– |
– |
– |
186 |
32 |
185 |
36 |
185 |
40 |
184 |
44 |
184 |
48 |
184 |
52 |
183 |
56 |
183 |
60 |
182 |
66 |
181 |
72 |
180 |
84 |
178 |
96 |
178 |
108 |
| 200 |
– |
– |
– |
– |
196 |
32 |
195 |
36 |
195 |
40 |
194 |
44 |
194 |
48 |
194 |
52 |
193 |
56 |
193 |
60 |
192 |
66 |
191 |
72 |
190 |
84 |
188 |
96 |
188 |
108 |
| 220 |
– |
– |
– |
– |
– |
– |
215 |
49 |
215 |
57 |
214 |
57 |
214 |
61 |
214 |
65 |
213 |
69 |
213 |
73 |
212 |
79 |
211 |
85 |
210 |
97 |
208 |
109 |
208 |
121 |
| 240 |
– |
– |
– |
– |
– |
– |
235 |
49 |
235 |
57 |
234 |
57 |
234 |
61 |
234 |
65 |
233 |
69 |
233 |
73 |
232 |
79 |
231 |
85 |
230 |
97 |
228 |
109 |
228 |
121 |
| 260 |
– |
– |
– |
– |
– |
– |
255 |
49 |
255 |
57 |
254 |
57 |
254 |
61 |
254 |
65 |
254 |
69 |
253 |
73 |
252 |
79 |
251 |
85 |
250 |
97 |
248 |
109 |
248 |
121 |
| 280 |
– |
– |
– |
– |
– |
– |
– |
– |
275 |
57 |
274 |
57 |
274 |
61 |
274 |
65 |
273 |
69 |
273 |
73 |
272 |
79 |
271 |
85 |
270 |
97 |
268 |
109 |
268 |
121 |
| 300 |
– |
– |
– |
– |
– |
– |
– |
– |
295 |
57 |
294 |
57 |
294 |
61 |
294 |
65 |
293 |
69 |
293 |
73 |
292 |
79 |
291 |
85 |
290 |
97 |
288 |
109 |
288 |
121 |
_______________________________________________________________________________________________________ МАССА
Длина
болта l мм |
Теоретическая масса 1000 шт. болтов кг, при номинальном диаметре резьбы d мм |
| 6 |
8 |
10 |
12 |
14 |
16 |
18 |
20 |
22 |
24 |
27 |
30 |
36 |
42 |
48 |
| 8 |
4,306 |
8,668 |
– |
– |
– |
– |
– |
– |
– |
– |
– |
– |
– |
– |
– |
| 10 |
4,712 |
9,394 |
16,68 |
– |
– |
– |
– |
– |
– |
– |
– |
– |
– |
– |
– |
| 12 |
5,118 |
10,12 |
17,82 |
– |
– |
– |
– |
– |
– |
– |
– |
– |
– |
– |
– |
| 14 |
5,524 |
10,85 |
18,96 |
27,89 |
– |
– |
– |
– |
– |
– |
– |
– |
– |
– |
– |
| 16 |
5,93 |
11,57 |
20,1 |
29,48 |
43,98 |
– |
– |
– |
– |
– |
– |
– |
– |
– |
– |
| 18 |
6,336 |
12,3 |
21,23 |
31,12 |
46,21 |
65,54 |
– |
– |
– |
– |
– |
– |
– |
– |
– |
| 20 |
6,742 |
13,02 |
22,37 |
32,76 |
48,45 |
68,49 |
95,81 |
– |
– |
– |
– |
– |
– |
– |
– |
| 22 |
7,204 |
13,52 |
23,51 |
34,4 |
50,69 |
71,44 |
99,52 |
– |
– |
– |
– |
– |
– |
– |
– |
| 25 |
7,871 |
14,84 |
25,22 |
36,86 |
54,05 |
75,87 |
105,1 |
133,3 |
– |
– |
– |
– |
– |
– |
– |
| 28 |
8,537 |
16,33 |
26,92 |
39,32 |
57,4 |
80,29 |
110,6 |
140,2 |
– |
– |
– |
– |
– |
– |
– |
| 30 |
8,981 |
17,12 |
28,52 |
40,96 |
59,64 |
83,24 |
114,3 |
144,8 |
193 |
– |
– |
– |
– |
– |
– |
| 32 |
9,426 |
17,91 |
29,43 |
42,59 |
61,87 |
86,19 |
118 |
149,4 |
198,6 |
237 |
– |
– |
– |
– |
– |
| 35 |
10,09 |
19,09 |
31,28 |
45,34 |
65,24 |
90,62 |
123,6 |
156,3 |
207 |
246,9 |
340,6 |
– |
– |
– |
– |
| 38 |
10,76 |
20,28 |
33,18 |
48 |
68,59 |
95,04 |
129,2 |
163,2 |
215,4 |
256,9 |
353,3 |
– |
– |
– |
– |
| 40 |
11,2 |
21,07 |
34,36 |
49,78 |
71,25 |
97,99 |
132,9 |
167,8 |
221 |
263,5 |
361,8 |
474,8 |
– |
– |
– |
| 45 |
12,31 |
23,04 |
37,45 |
54,22 |
77,3 |
105,7 |
142,1 |
179,4 |
235 |
280,1 |
373 |
500,9 |
– |
– |
– |
| 50 |
13,42 |
25,02 |
40,53 |
58,67 |
83,35 |
113,6 |
152,4 |
190,9 |
249 |
296,7 |
404,1 |
526,9 |
834,5 |
– |
– |
| 55 |
14,53 |
26,99 |
43,62 |
63,11 |
89,39 |
121,5 |
162,4 |
203,7 |
263,1 |
313,3 |
425,3 |
553 |
872,1 |
1304 |
– |
| 60 |
15,64 |
28,97 |
46,7 |
67,55 |
95,44 |
129,4 |
172,4 |
216 |
278,9 |
329,9 |
446,5 |
579 |
909,8 |
1356 |
– |
| 65 |
16,76 |
30,94 |
49,79 |
71,99 |
101,5 |
137,3 |
182,4 |
228,4 |
293,8 |
348,8 |
467,7 |
605,1 |
947,4 |
1407 |
2009 |
| 70 |
17,87 |
32,91 |
52,87 |
76,44 |
107,5 |
145,2 |
192,4 |
240,7 |
308,8 |
366,5 |
491,1 |
631,1 |
985 |
1458 |
2076 |
| 75 |
18,98 |
34,89 |
55,96 |
80,88 |
113,6 |
153,1 |
202,4 |
253 |
323,7 |
384,3 |
513,6 |
659,7 |
1023 |
1509 |
2143 |
| 80 |
20,09 |
36,86 |
59,04 |
85,33 |
119,6 |
161 |
212,4 |
265 |
338,6 |
402,1 |
536,1 |
687,5 |
1061 |
1561 |
2211 |
| 85 |
21,2 |
38,84 |
62,13 |
89,77 |
125,7 |
168,9 |
222,4 |
277,7 |
353,6 |
419,8 |
558,6 |
715,2 |
1098 |
1612 |
2278 |
| 90 |
22,31 |
40,81 |
65,21 |
94,2 |
131,7 |
176,8 |
232,4 |
290,1 |
368,5 |
437,6 |
581 |
743 |
1141 |
1663 |
2345 |
| 95 |
– |
42,79 |
68,3 |
98,64 |
137,8 |
184,7 |
242,4 |
302,4 |
383,4 |
455,4 |
603,5 |
770,8 |
1181 |
1715 |
2412 |
| 100 |
– |
44,76 |
71,38 |
103,1 |
143,8 |
192,6 |
252,4 |
314,7 |
398,3 |
473,2 |
626 |
798,5 |
1221 |
1766 |
2479 |
| 105 |
– |
– |
74,47 |
107,5 |
149,9 |
200,5 |
262,4 |
327,1 |
413,3 |
490,9 |
648,5 |
826,3 |
1261 |
1826 |
2546 |
| 110 |
– |
– |
77,55 |
112 |
155,9 |
208,4 |
272,3 |
339,4 |
428,2 |
508,7 |
671 |
854,1 |
1301 |
1880 |
2614 |
| 115 |
– |
– |
80,63 |
116,4 |
162 |
216,3 |
282,3 |
351,8 |
443,1 |
526,5 |
693,5 |
881,8 |
1341 |
1934 |
2690 |
| 120 |
– |
– |
83,72 |
120,9 |
168 |
224,2 |
292,3 |
364,1 |
458,1 |
544,2 |
716 |
909,6 |
1381 |
1989 |
2760 |
| 125 |
– |
– |
86,8 |
125,3 |
174 |
232,1 |
302,3 |
376,4 |
473 |
562 |
738,5 |
937,4 |
1421 |
2043 |
2831 |
| 130 |
– |
– |
89,89 |
129,7 |
180,1 |
240 |
312,3 |
388,8 |
487,9 |
579,8 |
761 |
965,2 |
1461 |
2098 |
2903 |
| 140 |
– |
– |
96,06 |
138,6 |
192,2 |
255,8 |
332,3 |
413,5 |
517,8 |
615,3 |
806 |
1021 |
1541 |
2207 |
3045 |
| 150 |
– |
– |
102,18 |
147,5 |
204,3 |
271,6 |
352,3 |
438,1 |
547,6 |
650,8 |
850,1 |
1076 |
1621 |
2315 |
3187 |
| 160 |
– |
– |
108,38 |
156,4 |
216,4 |
287,4 |
372,3 |
462,8 |
577,5 |
686,4 |
895,9 |
1132 |
1701 |
2424 |
3329 |
| 170 |
– |
– |
114,58 |
165,3 |
228,5 |
303,2 |
392,3 |
487,5 |
607,4 |
721,9 |
940,9 |
1188 |
1780 |
2533 |
3471 |
| 180 |
– |
– |
120,68 |
174,2 |
240,6 |
319 |
412,3 |
512,2 |
637,2 |
757,5 |
985,9 |
1243 |
1860 |
2642 |
3614 |
| 190 |
– |
– |
126,88 |
183,1 |
252,7 |
333,8 |
432,3 |
536,9 |
667,1 |
793 |
1031 |
1299 |
1940 |
2751 |
3756 |
| 200 |
– |
– |
133,08 |
191,9 |
264,7 |
350,6 |
452,2 |
561,5 |
697 |
828,6 |
1076 |
1354 |
2020 |
2860 |
3898 |
| 220 |
– |
– |
– |
209,7 |
228,9 |
382,2 |
492,2 |
610,9 |
756,7 |
899,6 |
1166 |
1465 |
2180 |
3077 |
4182 |
| 240 |
– |
– |
– |
227,5 |
313,1 |
413,8 |
532,2 |
660,3 |
816,4 |
970,8 |
1256 |
1576 |
2340 |
3295 |
4466 |
| 260 |
– |
– |
– |
245,2 |
337,6 |
445,4 |
572,2 |
709,6 |
876,1 |
1042 |
1346 |
1687 |
2500 |
3513 |
4751 |
| 280 |
– |
– |
– |
– |
361,5 |
476,9 |
612,2 |
759 |
935,9 |
1113 |
1436 |
1798 |
2660 |
3730 |
5035 |
| 300 |
– |
– |
– |
– |
385,7 |
508,5 |
652,2 |
808,3 |
995,6 |
1184 |
1526 |
1910 |
2820 |
3948 |
5319 |
|
________ВНЕШНИЙ ВИД

_____________ЧЕРТЕЖ
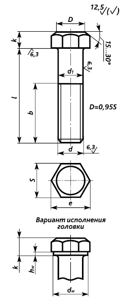
Пример условного обозначения болта исполнения 1 с диаметром резьбы d=12 мм, с размером «под ключ» S=18 мм, длиной l=60 мм, с крупным шагом резьбы с полем допуска 6g, класса прочности 5.8, без покрытия:
Болт М12-6gх60.58 (S18) ГОСТ 7798-70.
То же, исполнения 2, с размером «под ключ» S=19 мм, с мелким шагом резьбы с полем допуска 6g, класса прочности 10.9, из стали марки 40Х, с покрытием 01 толщиной 6 мкм:
Болт 2М12х1,25-6gх60.109.40Х.016 ГОСТ 7798-70.
Внимание!
Резьба – по ГОСТ 24705. • Сбег и недорез резьбы – по ГОСТ 27148. • Концы болтов – по ГОСТ 12414. • Радиус под головкой – по ГОСТ 24670. • Не установленные настоящим стандартом допуски размеров, отклонений формы и расположения поверхностей и методы контроля – по ГОСТ 1759.1. • Допустимые дефекты поверхности болтов и методы контроля – по ГОСТ 1759.2. • Технические требования – по ГОСТ 1759.0. • Размеры болтов, заключенные в скобки, применять не рекомендуется. • Для определения массы болтов из других материалов значения массы, указанные в таблице, следует умножить на коэффициенты: 0,356 – для алюминиевых сплавов; 1,080 – для латуни.
|
Последние комментарии
1 год 22 недели назад
3 года 9 недель назад
4 года 4 недели назад
4 года 4 недели назад
12 лет 13 недель назад
12 лет 13 недель назад
12 лет 13 недель назад
12 лет 13 недель назад
12 лет 13 недель назад
12 лет 14 недель назад