___________________________________________ РАЗМЕРЫ В МИЛЛИМЕТРАХ
| Параметры винта |
Номинальный диаметр резьбы d |
| М1,6 |
М2 |
М2,5 |
М3 |
(М3,5) |
М4 |
М5 |
М6 |
М8 |
М10 |
| Шаг резьбы P |
0,35 |
0,4 |
0,45 |
0,5 |
0,6 |
0,7 |
0,8 |
1 |
1,25 |
1,5 |
| Диаметр головки dk |
EN ISO 7046-1 |
3 |
3,8 |
4,7 |
5,5 |
7,3 |
8,4 |
9,3 |
11,3 |
15,8 |
18,3 |
| DIN 965 |
3 |
3,8 |
4,7 |
5,6 |
6,5 |
7,5 |
9,2 |
11 |
14,5 |
18 |
| Высота головки k |
EN ISO 7046-1 |
1 |
1,2 |
1,5 |
1,65 |
2,35 |
2,7 |
2,7 |
3,3 |
4,65 |
5 |
| DIN 965 |
0,96 |
1,2 |
1,5 |
1,65 |
1,93 |
2,2 |
2,5 |
3 |
4 |
5 |
| m |
Форма H |
1,6 |
1,9 |
2,9 |
3,2 |
4,4 |
4,6 |
5,2 |
6,8 |
8,9 |
10 |
| Форма Z |
1,6 |
1,9 |
2,8 |
3 |
4,1 |
4,4 |
4,9 |
6,6 |
8,8 |
9,8 |
| Номинальная длина l |
мин. |
3 |
3 |
3 |
4 |
5 |
5 |
6 |
8 |
10 |
12 |
| макс. |
16 |
20 |
25 |
30 |
35 |
40 |
50 |
60 |
60 |
60 |
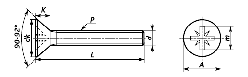
Винт с потайной головкой используется для соединения различных конструкций в строительстве, мебельном производстве.
• Материал: сталь.
• Покрытие: гальваническая оцинковка.
• Резьба: метрическая нормальная, класса точности среднего (6g).
• Шлиц: Pozi.
• Головка: потайная.
|
________________________________________ МАССА
| Длина винта мм |
Масса 1000 шт. винтов кг |
| М2,5 |
М3 |
(М3,5) |
М4 |
М5 |
М6 |
М8 |
М10 |
| 3 |
0,175 |
– |
– |
– |
– |
– |
– |
– |
| 4 |
0,206 |
0,290 |
0,434 |
– |
– |
– |
– |
– |
| 5 |
0,236 |
0,335 |
0,494 |
0,676 |
– |
– |
– |
– |
| 6 |
0,266 |
0,379 |
0,554 |
0,754 |
1,21 |
– |
– |
– |
| 8 |
0,326 |
0,467 |
0,673 |
0,91 |
1,45 |
2,19 |
– |
– |
| 10 |
0,386 |
0,555 |
0,792 |
1,06 |
1,70 |
2,54 |
5,03 |
– |
| 12 |
0,446 |
0,643 |
0,911 |
1,22 |
1,95 |
2,89 |
5,67 |
9,59 |
| 14 |
0,507 |
0,731 |
1,03 |
1,37 |
2,19 |
3,25 |
6,30 |
10,6 |
| 16 |
0,567 |
0,820 |
1,15 |
1,53 |
2,44 |
3,6 |
6,94 |
11,6 |
| 18 |
0,627 |
0,908 |
1,27 |
1,68 |
2,69 |
3,95 |
7,57 |
12,6 |
| 20 |
0,687 |
0,996 |
1,39 |
1,84 |
2,94 |
4,31 |
8,21 |
13,6 |
| 22 |
0,747 |
1,08 |
1,51 |
1,99 |
3,18 |
4,66 |
8,84 |
14,6 |
| 25 |
0,838 |
1,22 |
1,69 |
2,22 |
3,55 |
5,19 |
9,79 |
16,1 |
| 28 |
– |
1,35 |
1,87 |
2,46 |
3,93 |
5,72 |
10,7 |
17,6 |
| 30 |
– |
1,44 |
1,99 |
2,61 |
4,16 |
6,08 |
11,4 |
18,6 |
| 35 |
– |
– |
2,29 |
3,00 |
4,65 |
6,96 |
13,0 |
21,1 |
| 40 |
– |
– |
– |
3,38 |
5,4 |
7,84 |
14,6 |
23,6 |
| 45 |
– |
– |
– |
– |
6,02 |
8,73 |
16,2 |
26,1 |
| 50 |
– |
– |
– |
– |
– |
– |
17,8 |
28,6 |
| 55 |
– |
– |
– |
– |
– |
– |
19,4 |
31,1 |
| 60 |
– |
– |
– |
– |
– |
– |
– |
33,7 |
|
__________________ВНЕШНИЙ ВИД

________________________ЧЕРТЕЖ
|
Последние комментарии
1 год 29 недель назад
3 года 17 недель назад
4 года 12 недель назад
4 года 12 недель назад
12 лет 20 недель назад
12 лет 20 недель назад
12 лет 20 недель назад
12 лет 20 недель назад
12 лет 21 неделя назад
12 лет 21 неделя назад