|
Київ
Пирогівський шлях, 34
(095) 292-00-88 (067) 640-64-49 kyiv@metiz.net
|
Харків
О.Орлова, 20
(067) 320-85-26 (050) 348-36-66 kharkiv@metiz.net
|
Одеса
Дальницька, 39
(067) 524-04-14
odesa@metiz.net
|
Житомир
Комерційна, 13-А
(067) 320-86-36 zhytomyr@metiz.net
|
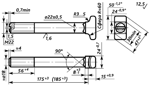
ГОСТ 16017-79
|
|
||
ГОСТ 16017-79
|
||
|
• Марка стали: 20.
• Класс точности: B. • Класс прочности: 5,8. • Поле допуска резьбы: 8g. • Масса 1000 шт: 621 кг/647,5 кг.
Пример условного обозначения закладного болта класса точности В, исполнения 1, диаметром резьбы d=22 мм, с крупным шагом резьбы, с полем допуска 8g, длиной 175 мм, класса прочности 3.6, из спокойной стали, с цинковым покрытием толщиной 15 мкм, хроматированным: Болт М22-8gx175.36.C.0115 ГОСТ 16017-79.
Внимание! • Резьба – по ГОСТ 24705-81, после допуска 8g по ГОСТ 16093-81. • Механические свойства – по ГОСТ 1759.4-87. • Правила приемки – по ГОСТ 17769-83. • Методы контроля – по ГОСТ 1759.0-87. • Допуски размеров, формы и расположение поверхностей и методы их контроля – по ГОСТ 1759.1-82. • Дефекты поверхности и методы контроля – по ГОСТ 1759.2-82. • Упаковка и маркировка тары – по ГОСТ 18160-72. |
_________________________________________ЧЕРТЕЖ
![]() |
_______ВНЕШНИЙ ВИД
![]() |
![]() |
||






Последние комментарии
1 год 29 недель назад
3 года 16 недель назад
4 года 11 недель назад
4 года 11 недель назад
12 лет 20 недель назад
12 лет 20 недель назад
12 лет 20 недель назад
12 лет 20 недель назад
12 лет 21 неделя назад
12 лет 21 неделя назад