|
Київ
Пирогівський шлях, 34
(095) 292-00-88 (067) 640-64-49 kyiv@metiz.net
|
Харків
О.Орлова, 20
(067) 320-85-26 (050) 348-36-66 kharkiv@metiz.net
|
Одеса
Дальницька, 39
(067) 524-04-14
odesa@metiz.net
|
Житомир
Комерційна, 13-А
(067) 320-86-36 zhytomyr@metiz.net
|
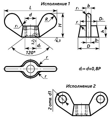
ГОСТ 3032-76 / DIN 315 Гайка барашковая с закругленными лепестками
|
|
|||||||||||||||||||||||||||||||||||||||||||||||||||||||||||||||||||||||||||||||||||||||||||||||||||||||||||||||||||||||||||||||||||||||||||||||||||||||||||||||||||||||||||||||||||||||||||||||||||||||||||||||||||||||||||||||
ГОСТ 3032-76 / DIN 315
|
|||||||||||||||||||||||||||||||||||||||||||||||||||||||||||||||||||||||||||||||||||||||||||||||||||||||||||||||||||||||||||||||||||||||||||||||||||||||||||||||||||||||||||||||||||||||||||||||||||||||||||||||||||||||||||||||
|
______________________________________________________РАЗМЕРЫ В МИЛЛИМЕТРАХ
Внимание!
• Для определения массы гаек из других материалов значения массы, указанные в таблице, следует умножить на коэффициенты: 0,356 – для алюминиевого сплава; 1,080 – для латуни. • Размеры гаек, заключенные в скобки, применять не рекомендуется. • Резьба – по ГОСТ 9150-2002, ГОСТ 24705-2004. • Поле допуска 6Н – по ГОСТ 16093-2004 (также возможны 5Н6Н и 6G). • Предельные отклонения размеров, получаемых штамповкой – по 2 классу точности ГОСТ 7505-89, литьем – по 2 классу точности ГОСТ 26645-85. • Для изготовления гаек-барашек допускается применение стали марок 25Л, 35Л, 40Л, 45Л – по ГОСТ 977-88, чугуна – по ГОСТ 1215-79 или ГОСТ 7293-85. • Остальные технические требования – по ГОСТ 1759.0-87 для гаек класса точности В. • Дефекты размеров, отклонения формы и расположения – по ГОСТ 1759.1-82. • Дефекты поверхности и методы контроля – по ГОСТ 1759.3-83.
|
______________________________МАССА
Пример условного обозначения гайки-барашка диаметром резьбы d=10 мм, с крупным шагом резьбы с полем допуска 6Н, класса прочности 6, без покрытия: Гайка М10×6Н.6 ГОСТ 3032-76.
То же исполнения 2, с мелким шагом резьбы с полем допуска 6Н, из материала Л63 группы 32, с покрытием никелевым толщиной 6 мкм: Гайка 2.М10×1,5-6Н.32.036 ГОСТ 3032-76. |
___________________ВНЕШНИЙ ВИД
________________________ЧЕРТЕЖ
![]() |
|||||||||||||||||||||||||||||||||||||||||||||||||||||||||||||||||||||||||||||||||||||||||||||||||||||||||||||||||||||||||||||||||||||||||||||||||||||||||||||||||||||||||||||||||||||||||||||||||||||||||||||||||||||||||||||
![]() |
|||||||||||||||||||||||||||||||||||||||||||||||||||||||||||||||||||||||||||||||||||||||||||||||||||||||||||||||||||||||||||||||||||||||||||||||||||||||||||||||||||||||||||||||||||||||||||||||||||||||||||||||||||||||||||||||






Последние комментарии
1 год 28 недель назад
3 года 15 недель назад
4 года 10 недель назад
4 года 10 недель назад
12 лет 19 недель назад
12 лет 19 недель назад
12 лет 19 недель назад
12 лет 19 недель назад
12 лет 19 недель назад
12 лет 20 недель назад