|
Київ
Пирогівський шлях, 34
(095) 292-00-88 (067) 640-64-49 kyiv@metiz.net
|
Харків
О.Орлова, 20
(067) 320-85-26 (050) 348-36-66 kharkiv@metiz.net
|
Одеса
Дальницька, 39
(067) 524-04-14
odesa@metiz.net
|
Житомир
Комерційна, 13-А
(067) 320-86-36 zhytomyr@metiz.net
|
Конфирмат
|
|
||||||||||||||||||||||||||||||||||||||||||||||||||||||||||||||||||||||||||||
КонфирматConfirmat screw |
||||||||||||||||||||||||||||||||||||||||||||||||||||||||||||||||||||||||||||
|
____________________________________РАЗМЕРЫ В МИЛЛИМЕТРАХ
|
_______________________________МАССА
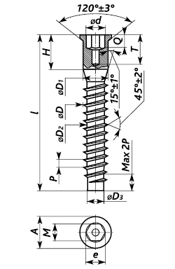
Одноэлементная мебельная стяжка в виде специального шурупа, которая используется для соединения перпендикулярно расположенных друг к другу листов из древесных материалов (ДСП, МДФ, фанера, массивная древесина и др.). Cостоит из потайной головки с крестообразным шлицем Pozi №2 или №3, либо шестигранным на 4 мм. К головке примыкает гладкая часть стержня, а далее – резьбовая часть с тупым концом. Диаметр гладкой части и наружный диаметр резьбовой части совпадают. Изготавливают конфирматы из металлических сплавов, и как правило они имеют покрытие – в основном цинковое. |
__________ВНЕШНИЙ ВИД
_______________ЧЕРТЕЖ
![]() |
||||||||||||||||||||||||||||||||||||||||||||||||||||||||||||||||||||||||||
![]() |
||||||||||||||||||||||||||||||||||||||||||||||||||||||||||||||||||||||||||||






Последние комментарии
1 год 28 недель назад
3 года 15 недель назад
4 года 10 недель назад
4 года 10 недель назад
12 лет 19 недель назад
12 лет 19 недель назад
12 лет 19 недель назад
12 лет 19 недель назад
12 лет 20 недель назад
12 лет 20 недель назад